ねじ部にあらかじめシール加工がされているためそのまま締付け作業ができます。
※シールテープが巻かれた状態ではなくシール剤を塗布し、焼き付け乾燥しています。
シールテープや液状シール剤のように手間がなく、作業時間を大幅に短縮することができます。
また作業者の熟練度によるバラツキをなくし、巻き不足や巻き過ぎによる漏れやコンタミ問題が解決できます。


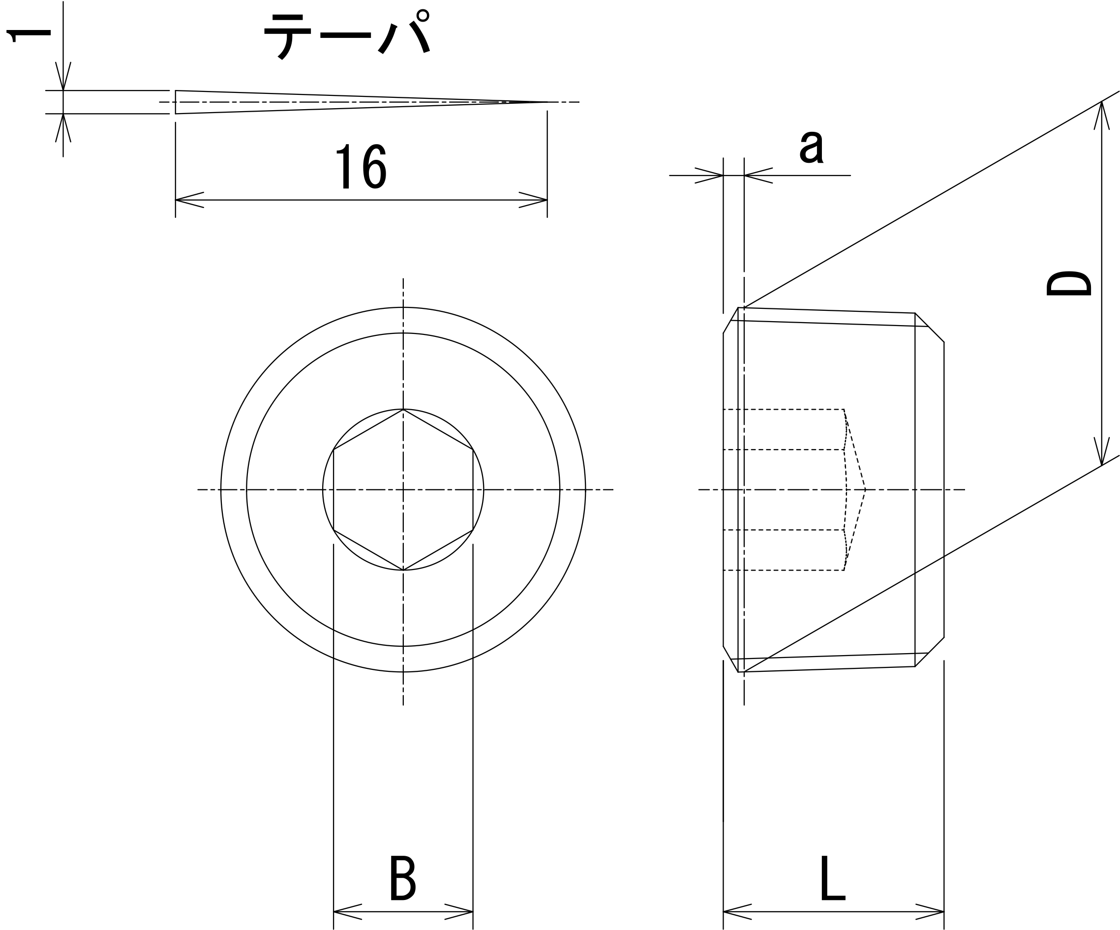
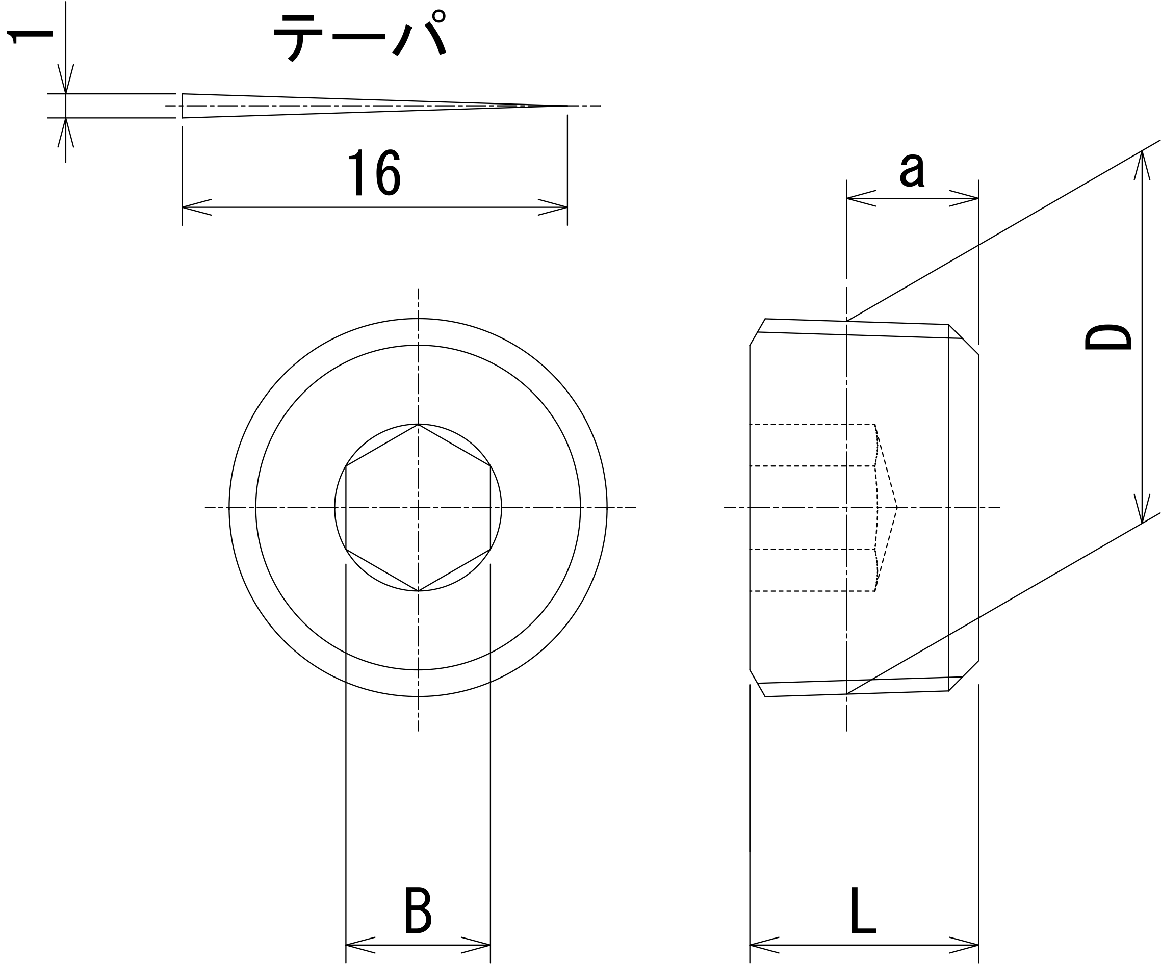
六角穴付きテーパープラグ 沈み 1/16~1”まで在庫しております。
試作や小ロット、短納期対応も受け付けております。
プラグ以外への加工もご相談ください!
※配管継ぎ手、六角穴付きボルト 等多数実績あり

お問い合わせ・お見積りはこちら
